LtAP Mini LTE kit is a compact and rugged wireless access point designed to keep your vehicle connected wherever you go. Whether you’re riding through the Great Outdoors or navigating busy urban streets, this tiny device ensures you’re always online and ready to upload location data.
LtAP mini has a special extra-durable enclosure with a wall mounting kit, two SIM slots to alternate between cellular providers, and integrated GPS support, making this a perfect device for tracking moving vehicles like cars, buses or trains.
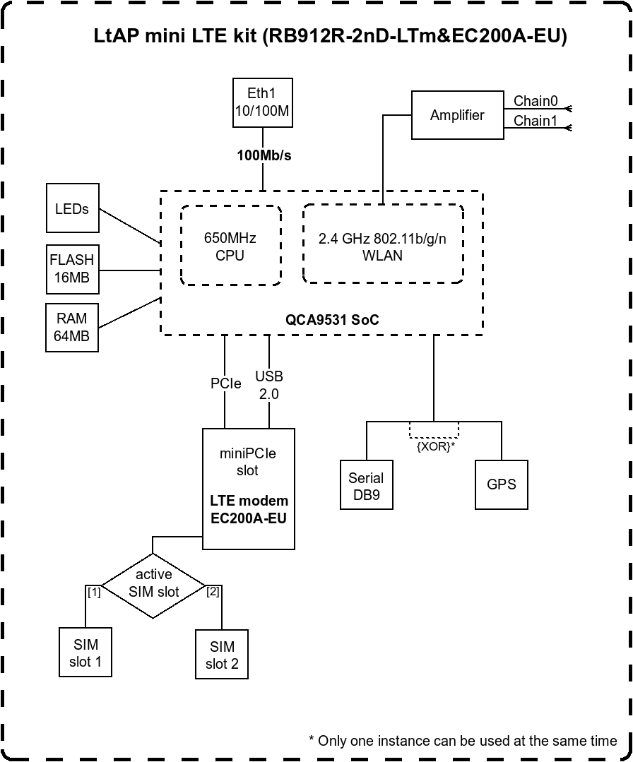
There’s an Ethernet port for your wired devices and a classic 2.4 GHz wireless radio. The RS232 serial port gives you console access for debugging.
The power options are as flexible as they get. You have the classic DC jack, 802.3af/at PoE-in, and a microUSB option. We have even seen users powering the LtAP mini with a portable power bank throughout the day!
The new LTE card offers a better price and the support of the most popular LTE bands, including the B28 band! It is connected to two internal antennas with u.FL connectors, so you can unplug the connectors and add your own external LTE antenna for even better coverage.
We have provided a simple tracking application example in the RouterOS documentation – to help you start tracking your vehicle’s location in real-time. You will need to connect an external GPS antenna, we recommend using the ACGPSA antenna with IP67 water resistance rating.
Download Brochure
Specification
System Specifications
- Product code: RB912R-2nD-LTm&EC200A-EU
- Architecture: MIPSBE
- CPU: QCA9531
- CPU core count: 1
- CPU nominal frequency: 650 MHz
- RouterOS license: 4
- Operating System: RouterOS v7
- Size of RAM: 64 MB
- Storage size: 16 MB
- Storage type: FLASH
- MTBF: Approximately 100’000 hours at 25C
- Tested ambient temperature: -40°C to 70°C
Powering
- MicroUSB input Voltage: 5 V
- Number of DC inputs: 3 (DC jack, PoE-IN, MicroUSB)
- DC jack input Voltage: 8-30 V
- Max power consumption: 8 W
- PoE in: 802.3af/at
- Cooling type: Passive
- PoE in input Voltage: 12-57 V
Mobile
- 2G Category: Class12
- 2G bands:
8 (900MHz)
3 (1800MHz)
- 3G Category: R7 (21Mbps Downlinks, 5.76Mbps Uplink)
- 3G bands:
5 (850MHz)
8 (900MHz)
1 (2100MHz)
- LTE Category: 4 (150Mbps Downlink, 50Mbps Uplink)
- MIMO DL: 2×2
- MIMO UL: 1×1
- LTE FDD bands:
20 (800MHz)
8 (900 MHz)
3 (1800MHz)
1 (2100MHz)
7 (2600MHz)
5 (850MHz)
28 (700MHz)
- LTE TDD bands:
40 (2300MHz)
38 (2600MHz)
41n (2500MHz)
- TAC: 86314105
Wireless specifications
- Wireless 2.4 GHz Max data rate: 300 Mbit/s
- Wireless 2.4 GHz Number of chains: 2
- Wireless 2.4 GHz standards: 802.11b/g/n
- Antenna gain dBi for 2.4 GHz: 1.5
- Wireless 2.4 GHz chip modelQCA: 9531
- Wireless 2.4 GHz generation: Wi-Fi 4
Ethernet
- 10/100 Ethernet ports: 1
Peripherals
- Number of SIM slots: 2 Modem (Mini SIM)
- MiniPCI-e slots: 1
- Serial console port: RS232
Other
- Mode button: Yes
- GNSS standards: GPS
- GPS RF connector type: uUFL
Certification & Approvals
- Certification: CE, E-MARK, EAC, ROHS
- IP: IP54
Included parts



Note
Ethernet Test Results
| Mode | Configuration | 1518 byte | 512 byte | 64 byte | |||
|---|---|---|---|---|---|---|---|
| kpps | Mbps | kpps | Mbps | kpps | Mbps | ||
| Bridging | none (fast path) | 8.1 | 98.4 | 23.5 | 96.3 | 173.6 | 88.9 |
| Bridging | 25 bridge filter rules | 8.1 | 98.4 | 23.5 | 96.3 | 70.9 | 36.3 |
| Routing | none (fast path) | 8.1 | 98.4 | 23.5 | 96.3 | 160.8 | 82.3 |
| Routing | 25 simple queues | 8.1 | 98.4 | 23.5 | 96.3 | 90.8 | 46.5 |
| Routing | 25 ip filter rules | 8.1 | 98.4 | 23.5 | 96.3 | 43.2 | 22.1 |
- All tests are done with Xena Networks specialized test equipment (XenaBay),and done according to RFC2544 (Xena2544)
- Max throughput is determined with 30+ second attempts with 0,1% packet loss tolerance in 64, 512, 1518 byte packet sizes
- Test results show device maximum performance, and are reached using mentioned hardware and software configuration, different configurations most likely will result in lower results








